
? 煙臺開發區龍海起重工具有限公司銷售:三木NETSUREN FL-VA無傷鋼板夾具為日本原裝進口,豎吊無痕鋼板夾鉗,特殊合金鋼模壓鍛造和熱處理而成,安全系數高,使用壽命長。

三木NETSUREN FL-VA豎吊無傷鋼板夾具特點:
* FL-VA豎吊無傷鋼板夾具夾緊力隨著負載的增加而成比例地增加,并很好地擰緊懸掛的物體。
* FL-VA豎吊無傷鋼板夾具在鎖緊彈簧打開的情況下,將其咬入部件中,并通過使用拉環操作杠桿來完成安裝。
* FL-VA豎吊無傷鋼板夾具由于全部由特殊合金鋼制成并經過加工和熱處理,因此具有很高的韌性。
* FL-VA豎吊無傷鋼板夾具安全系數高,區別于普通鋼板夾具,平均使用壽命可達5-6年。
* FL-VA無傷鋼板夾具,是無傷鋼板夾鉗的一種,針對起吊鋼板、形材、不銹鋼、銅板材、鋼結構等重物時不會在被給吊重物表面造成劃傷(劃痕)。

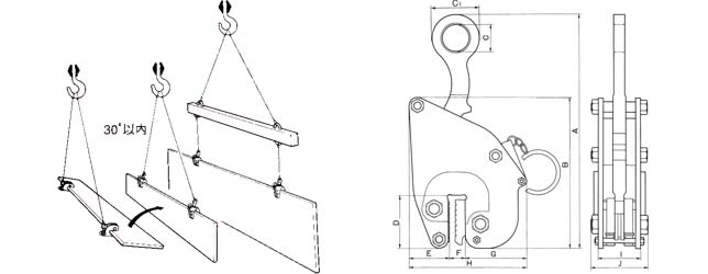
三木NETSUREN FL-VA豎吊無傷鋼板夾具組成部件:
相關產品配件可單賣,均為原廠配件

![]()
FL-VA豎吊無傷鋼板夾具為日本三木NETSUREN原裝進口產品,保質1年,我公司承諾凡是客戶在我公司訂購的進口類產品均為原裝正品,絕不存在拆件貨,換件貨,假冒品牌產品,凡客戶從我公司訂購日本三木NETSUREN產品如收到貨物時發現有拆件貨,換件貨,假冒、假貨仿貨均以100倍金額賠償。
產品選型:無傷鋼板夾具?