
遠藤ENDO AH型氣動葫蘆由日本遠藤ENDO工業株式會社生產,該品牌公司成立于1935年,擁有80多年的生產經驗,1997年取得ISO9001質量體系認證,迄今為止以擁有48個海外銷售國家或地區。
?
![]()
遠藤ENDO AH型氣動葫蘆介紹:
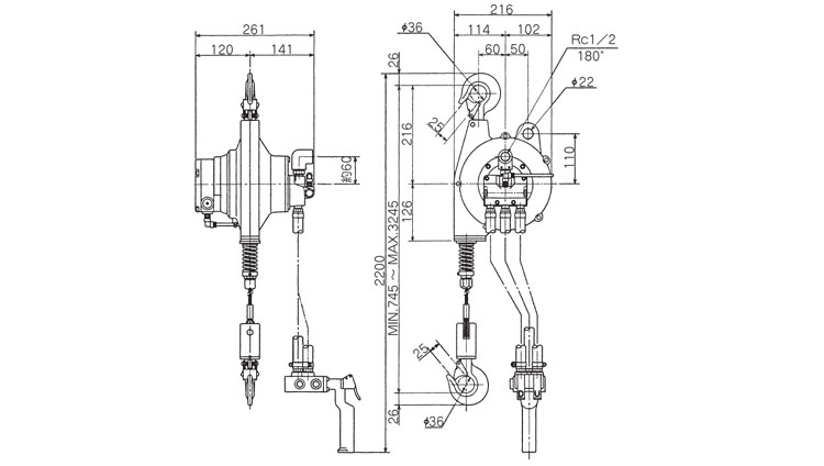
* 遠藤ENDO AH型氣動葫蘆為鋼絲繩型,載荷160kg~250kg,行程2.5米
*遠藤ENDO AH型氣動葫蘆通過按鈕式控制升降,操作簡單方便
* 遠藤ENDO AH型氣動葫蘆可配運行小車使用,組成運行式,方便水平提升重物
* 遠藤ENDO AH型氣動葫蘆蘆采用空氣做動力源,不需要電源驅動,從而具備防爆功能,特別適用于石油、化工、汽車、礦山等易燃易爆場合。

![]()
AH型氣動葫蘆為日本遠藤ENDO原裝進口產品,保質1年,我公司承諾凡是客戶在我公司訂購的進口類產品均為原裝正品,絕不存在拆件貨,換件貨,假冒品牌產品,凡客戶從我公司訂購日本遠藤ENDO產品如收到貨物時發現有拆件貨,換件貨,假冒、假貨仿貨均以100倍金額賠償。
產品分類:
產品資料: