
? 煙臺開發區龍海起重工具有限公司銷售日本進口鷹牌EAGLE CLAMP螺旋鎖緊鋼板吊鉗:SBT螺旋鎖緊鋼板吊鉗,載荷500kg,用于型鋼縱向及橫向起吊用,安全系數高。

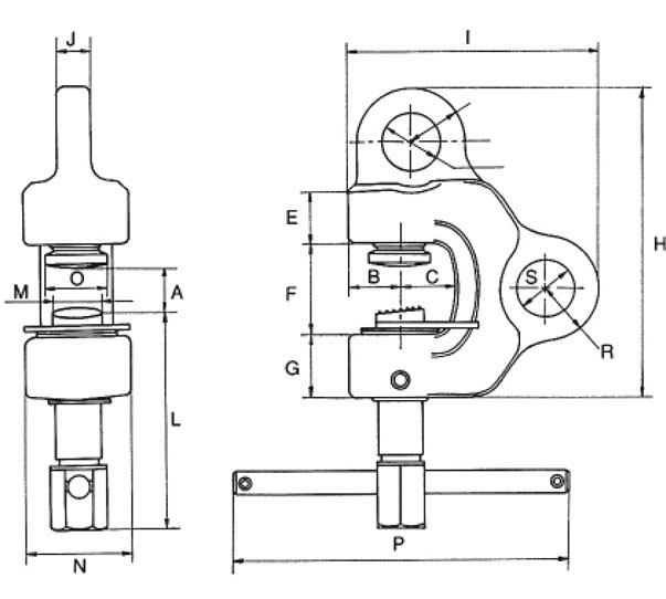
SBT鷹牌EAGLE CLAMP螺旋鎖緊鋼板吊鉗介紹:
* SBT螺旋鋼板吊鉗本體采用特殊合金鋼精密鍛造,鍍鋅表面,正常使用壽命達7-8年
* 強大的夾緊能力,隨著被吊重物的比例增強而增強
* 螺紋式虎鉗和球形鉗口緊固機構的雙重安全結構
* SBT螺旋鋼板吊鉗即使沒有負載的情況,也能防止脫落
* 采用的錐形彈簧,可將鉗口保持在正確位置并可靠安裝
* 緊固螺釘和球形鉗口由特殊合金鋼制成并經過感應淬火,擁有5倍以上安全系數

SBT鷹牌EAGLE CLAMP螺旋鎖緊鋼板吊鉗實物:
我公司可承諾凡在我公司購買該品牌產品若發現假貨、仿貨,將以產品的貨值的百倍賠償!!


SBT鷹牌EAGLE CLAMP螺旋鎖緊鋼板吊鉗注意事項:
用途:豎吊、橫吊、水平吊、搬運、吊起、組裝、安裝、施工、焊接等
適用材料:工字鋼,槽鋼、I型鋼等
材料:5°?10°以內

相關產品: